記者|江昱玢 魏靜哲 編輯|江昱玢 小小螺絲釘,也能做出上市公司。
6月6日,飛沃新能源開啟新股申購。
這家湖南常德公司,專門生產高強度緊固件,簡言之,主要針對風電領域客戶,提供風電葉片專用“預埋螺套”。
“中國人能造航母飛機,沒有理由生產不出高端裝備上的一個螺栓。”創始人張友君認為,做出來不難,但做精做透需要工匠精神。
11年間,這門看似簡單的生意,讓小山村走出的“作坊式企業”,成為年產值超10億元的“世界冠軍”,拿下全球細分市場70%的市占率。
螺絲大生意
螺絲釘,學名“緊固件”,被譽為“工業大米”。
以風電領域為例,一臺大型風力發電機,需要用到近2萬顆緊固件;其中,一個風電葉片與風電主機緊緊相連,光是預埋螺套就要100個左右。
GrandViewResearch的研究數據顯示,到2023年,全球工業緊固件市場需求將達1200億美元(約合人民幣8500億元)。
巨大市場中,飛沃靠風電葉片預埋螺套殺出一條路。
作為核心產品,公司預埋螺套的年收入一度達6.6億元,占總營收的比例超6成。
“它涵蓋了材料科學、金屬塑性成型、機械加工工藝、表面防腐處理、無損檢測、機構力學等多個學科領域,在制造以及生產管理環節又涉及自動化與信息化。”
張友君表示,看似簡單的螺絲釘,要做好、做精、做透,不容易。
風力發電機365天×24小時不停運轉,持續工作約20年,對緊固件材料的強度、防腐要求很高。
風電企業選擇供應商很謹慎,從接觸到正式合作往往需要2-3年。不過,一旦進入供應商體系,因轉換成本較高,客戶黏性高。
張友君抓住機會打“質量牌”。
根據國家規定,中性能8.8級以上為“高強度緊固件”。飛沃生產的緊固件強度中,螺套產品強度等級主要為10級,螺栓產品主要為10.9級,部分達到12.9級,新產品方向包括14.9級超高強度螺栓等。
例如,飛沃產品疲勞壽命一般位于100萬-200萬次之間,部分產品可達250萬次,“高于同行業廠商,能夠應對更惡劣的工況”。
去年,飛沃營收13.4億元。光是預埋螺套和整機螺栓,就賣出超1000萬只。其中,預埋螺套的全球市場占有率超過70%。
張友君根本不愁賣。截至2022年末,在手訂單還有2.45億元。
闖出一片天
張友君1976年生于湖南常德的農村家庭,高考落榜后,他擺過地攤、賣過菜,做過摩的司機、廚師。
1999年,張友君成為“深漂”,7年時間從一名外企銷售做到跨國公司采購經理。工作中他發現,各國生產的簡單零部件質量、技術差別巨大,導致不少產品依賴進口。
2007年,張首次創業做的是機械制造,落戶上海,這便是飛沃的前身“泛沃”。
2012年,36歲的張友君帶著百萬元回鄉創業,成立飛沃新能源。
他將企業扎根在桃源縣馬鬃嶺鎮,一個距離市區40公里的小山村,最初只有一間不到200平米的廠房和不足50名員工。
吃得苦、霸得蠻,張友君身處偏隅卻立下目標,“打造全球最大風電葉片預埋螺套生產基地”。
機械制造的重資產屬性,意味著源源不斷的投入。草根創業,資金哪里來?
當地政府支持下,2014年,飛沃拿到第一筆100萬元科技貸款,而后得到政府下屬財鑫金控集團等的多筆擔保貸款支持,8年累計8000萬元。
2016年,張友君帶領飛沃登陸新三板。
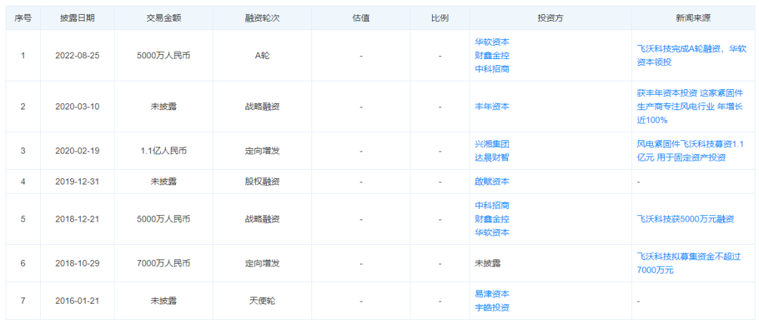
天眼查顯示,成立至今,公司完成五輪融資,投資機構包括達晨創投、湖南省國資委下屬興湘集團等。
截至IPO前,張友君合計持有公司36.54%的股權,為飛沃控股股東、實控人。
資金注入,飛沃同步迎來大訂單。
據BloombergNEF統計,2022年全球風電裝機廠商中,金風科技、維斯塔斯、通用電氣和遠景能源居前四,西門子歌美颯、明陽智能并列第五。
飛沃已與前述廠商,全部建立合作關系。
其中,遠景能源去年成為其頭號“金主”,貢獻近1.5億元的訂單。
從小山村到國際大舞臺,張友君的螺絲釘銷往西班牙、印度、波蘭、美國等,報告期內,公司境外年收入近1.4個億。
智造基本功
2021年,張友君經歷過低谷。當年,飛沃凈利潤腰斬,僅7863萬元。
招股書中將其歸咎于裝機需求回落、風電行業退補、市場競爭加劇,公司主要產品單價下降,疊加主要原材料鋼材價格急速上漲。
這導致2021年,公司主營業務毛利率僅為19.62%,同比跌去10.2個百分點。
具體來看,核心產品預埋螺套的毛利率下降至30%左右,其市場占有率也明顯下滑,由2020年的72.95%跌至57.61%。
2022年,情況稍有好轉,但仍未恢復至企業最好水平。
張友君引入DBS精益管理方法,通過單件流、拉動式生產、精益采購等,提高周轉,降低成本;
智能化工廠改造方面,團隊自主開發了熱擠壓成型智能控制、智能深孔鉆削、數控自動化車削、自動檢測等技術;搭建起飛沃信息化管理平臺,涵蓋生產產能數據、質量管理、設備管理、成本管理等環節。
張友君每年投入約4000萬元在研發上,節約人力成本、提高生產效能。
例如,針對螺套產品數控車外圓弧工序,匹配人工和機器的節拍,使單人可操作設備由1臺提升到2-3臺,單位人工產出提高一倍以上。
風電之外,張友君帶隊進入工程機械、軌道交通、航空航天、汽車、石油等領域。
不過還在培育階段,收入規模較小,2022年為848.7萬元,占主營業務收入的比例不到1%。
據悉,IPO募集資金將投入1.17億元建設非風電高強度緊固件生產線建設項目。項目投產后,預計年產不同規格高強度螺栓超2.6萬噸。
“為中國做好一顆螺絲釘”,張友君的目標是追趕全球“緊固件之王”伍爾特,后者2022財年的銷售額已達199.5億歐元。
以“Finework(精品)”為名,隱形冠軍一路狂奔。



















手機圖頁網



